

在欧盟全面加强欧盟市场产品安全法规的时候,德国市场又出岔子了,近日又卖家反馈自己的产品被德国相关机构抽查后,因为WEEE审核不通过被全线下架。那么WEEE到底是什么?哪些产品需要做WEEE?

什么是WEEE认证?
WEEE全称是Waste Electrical and Electronic Equipment ,即报废的电子电器设备回收指令。
根据欧盟指令91/156/EEC要求,自2005年8月13日起,欧盟市场上流通的电子电气设备制造商必须在法律上承担起支付报废产品回收费用的责任。同时,欧盟各成员国有义务制定自己的电子电气产品回收计划,建立相关配套回收设施,使电子电气产品的最终用户能够方便并且免费地处理报废设备。
欧盟为了妥善处理这些数量庞大的电子电气废弃物,同时回收珍贵的资源。在2002年通过两项对电子电气设备产品有重大影响的指令,分别为WEEE(欧盟回收指令)及RoHS指令(欧盟的环保指令)。
2016年,德国环保部门就发布了针对电商的法律,要求各大电商平台通知在其平台上销售的海外卖家必须注册电子设备回收,而在取得WEEE电子设备回收码之前,电商平台必须责令商家停止销售。
哪些产品需要做WEEE认证?
◆ 大型家用器具
◆ 小型家用器具
◆ 信息技术和远程通讯设备
◆ 消费性设备
◆ 照明设备
◆ 电气和电子工具(大型静态工业工具除外)
◆ 玩具、休闲和运动设备
◆ 医用设备(所有被植入和被感染产品除外)
◆ 监测和控制器械
◆ 自动售货机
值得注意的是,WEEE认证只是测试该产品的回收率是否符合德国的要求,卖家拿到WEEE标志之后还需要在Stiftung EAR的官方系统进行WEEE注册。
在官方系统注册完成后制造商会获得一个专门的EAR注册码,电商平台抽查的时候需要卖家提供这个EAR码以证明其产品遵守了德国相关的法规要求。如果您的EAR注册码超过六个月没有更新,EAR就会锁定您的产品清单,需要您重新进行注册。
不做EAR注册有什么影响?
一方面,如果电子设备不做回收注册,电商平台会对其进行下架处理;其次如果产品卖得好的话,很有可能会被竞争对手盯上,竞争对手购买该商家产品,如果产品上没有印上带斜线的垃圾桶,或者该产品没有在德国注册回收,竞争对手会委托德国律师给电商平台发信,要求停止销售该公司的产品,并且申请法庭程序,销毁该公司在平台上的所有产品。
另一方面,如果被德国政府授权Stiftung EAR/德国环境保护协会发现违法行为,将会面临更加严重的处罚:
1. 罚款最高10万欧元
2. 没收现存在德国所有盈利
3. 要求电商平台直接禁止该产品销售
4. 德国政府会委托律师申请法庭程序
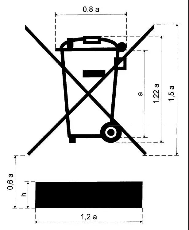
WEEE标志尺寸要求
卖家拿到WEEE标志之后,需要将其贴在产品、外包装和说明书上面,缺一不可。
除此以外,根据ElectroG法案的要求,德国境外的生产商必须有设在德国境内的分公司负责注册;如果在德国境内没有分公司的,需要有授权代理人。
授权人必须是如下两类人:
◆ 律师或者注册会计师
◆ 专业的回收公司
授权人主要负责:
1)负责管理机构Stiftung EAR与制造商直接的联络,即各地方通知Stiftung EAR制造商回收废弃物时,Stiftung EAR通知代理人负责废弃物的回收工作;
2)对制造商的责任进行担保,即一旦制造商退出德国市场,代理人负责完成未销售产品与剩余废弃物的处理工作(回收的废弃物包括电子电器本身以及它们的包装)。
产品想要出口到德国,除了要做CE认证以外,还需要提前了解清楚当地的产品相关法规,确保产品已经准备好了市场监管所需的一切资料。德国环保法案的发布早在前几年已经开始严厉打击,近期卖家又因为这个WEEE被平台下架,很显然跟欧盟市场监督法规有所关联,反正做好了全方面的保障,就无须还怕欧盟政府找茬。
目前30万+人2025-09-03
2025-09-01
2025-08-27
2025-06-18

2020-11-04 2889

2022-10-17 2671

2023-12-21 2402